
来源:公司秘闻 纸纸 博朗
据新华网,10月18日,江苏省常州市中级人民法院公开审理了山西省政协原副主席令政策受贿一案。
常州市人民检察院指控:令政策利用担任山西省发改委副主任、常务副主任、山西省发改委主任、山西省政协副主席等职务上的便利,以及本人职权、地位形成的便利条件,通过其他国家工作人员职务上的行为,为洪洞华清煤焦化学有限公司、杜善学等单位和个人在项目审批、获取用地、企业经营、职务晋升、岗位调整等事项上提供帮助,直接或通过其子令狐帅非法收受上述单位和人员给予的财物,共计折合人民币1607.2374万元。
公司秘闻(ID:high3c)注意到,通报里面,涉及到一家位于山西的公司——洪洞华清煤焦化学有限公司。该公司位于山西省临汾市洪洞县赵城镇官庄村,集洗选、炼焦、化产于一体,主要产品有焦煤、焦油、粗苯等。

华清煤焦由集体企业改制而来
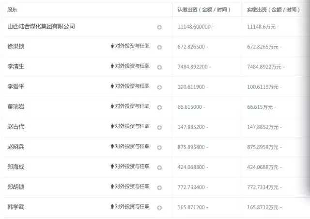
工商信息显示,华清煤焦成立于1992年,注册资本2.186亿元。从出资情况看,其最大股东为国有股东山西陆合煤化,第二大股东为自然人李清生。他同样也是华清煤焦的法定代表人。

(山西华清煤焦股东情况)
李清生之前也曾经担任官庄村村书记。《山西农业》在1995年曾刊发一篇关于李清生的报道,写了李清生“带领官庄乡亲父老艰苦创业”的过程:“李清生多年来殚精竭虑发展村办企业,1985年5月投资兴建全省第一座村办洗煤厂胜利投产”。

(1995年《山西农业》关于李清生的报道)
另一篇报道对这段往事描述更为详细:当时官庄有一笔11万的国家征地款,“李清生在和党员干部商议后认为,应充分利用好这笔钱,壮大集体经济,使村民逐渐摆脱贫困,走向共同富裕。”
报道描述称,李清生和其他村干部一道逐户上门,将“借鸡生蛋”的主张细说给村民,并赢得广泛认同。随后,李清生骑着摩托车跑临汾,走洪洞,奔走太原等地,建起了全省第一座村办洗煤厂,“当年实现产值207万元,全村人均收入一下猛增至1025元,三年后高达4000元,率先实现了共同富裕。”
2001年,官庄企业总公司进行改制成为洪洞华清煤焦化学公司,李清生任董事长、法定代表人。李清生等14人为股东。2013年12月,国资背景的山西陆合煤化接手华清煤焦51%的股份。
及至2014年3月,华清煤焦停产。10月18日,公司秘闻(ID:high3c)按照工商信息所留电话拨打过去,一位自称华清煤焦后勤部的工作人员称,公司现在仍处于停产状态。
李清生在2014年6月被中纪委叫去谈话
山西省发改委网站显示,2008年4月,山西省发改委核准了华清煤焦“新建年产10万吨项目”。该项目年产周期2年,项目总投资3.34亿元,建设地点在官庄村华清煤焦焦化厂区内。该公告的落款时间是2006年5月19日。

(山西省发改委网站挂出的通知)
简历显示,2000年至2008年,令政策在山西省发改委陆续担任副主任、常务副主任、主任等职务。2014年6月19日,中纪委发布消息称,山西省政协副主席令政策涉嫌严重违纪违法,接受组织调查。
公司秘闻(ID:high3c)在中国裁判文书网上发现了一份刑事判决书。判决书发布于今年10月1日,由山西省平遥市法院作出。判决书名为“被告人李某生隐匿、故意销毁会计凭证、会计账簿、会计报告一案一审刑事判决书”。
交叉判决书中提到的“李某生,山西临汾洪洞县人”、“担任华清煤焦法定代表人、董事长”等信息,可以断定,判决书中的李某生,即为李清生。
该份判决书透露了李清生被中纪委约谈的一些细节。李清生对侦查机关供述,他是在2014年6月24日被中纪委叫去谈话。同期被中纪委叫去谈话的,还有曾担任华清煤焦财务处处长的李某萍。
该判决书还披露,扣押华清公司2001年-2014年会计账本和记账凭证的,是中纪委办案组江苏省镇江市公安局,中纪委约谈地点是在山西太原。
法院审理阐明,2014年7月初,李清生在被中纪委约谈返回公司后,详细询问了李某萍被中纪委约谈内容和被中纪委扣押账目内容,并安排李某萍整理并销毁剩余的财务资料。

(判决书披露的情况)
判决书上,李某萍等几名相关人员的供述显示,一些没有被中纪委扣走的财务资料,先被多人整理到多个编织袋和黑色袋子里,有的还是用床单包的,再通过一辆帕萨特拉到别的地方,点火烧掉,“烧完后第二天,叫了公司的铲车把烧完的灰都埋了”。
鉴定报告书认为,加上此前,李清生等人销毁会计账簿、会计凭证、会计报告涉案金额达亿元。
判决书显示,2014年8月28日,李清生因涉嫌犯挪用资金罪被晋中市公安局刑事拘留;2014年9月30日因涉嫌犯隐匿、故意毁坏会计凭证、财务会计报告罪被晋中市检察院批准逮捕;2015年7月10日被取保候审。
2016年9月8日,平遥法院认定,李清生犯隐匿、故意毁坏会计凭证、会计账簿、会计报告罪,判处有期徒刑两年六个月,缓刑三年,并处罚金三万元。

(法院对李清生的判决结果)
此外,2015年5月,洪洞县第十五届人民代表大会常务委员会第二十三次会议决定,暂停李清生洪洞县第十五届人民代表大会代表职务。
10月18日下午,上述工作人员告诉公司秘闻(ID:high3c),李清生出差了,会转达公司秘闻的采访诉求。但截至晚上,没有收到回复。
股市早报,投资前瞻,涨停预测,牛股捕捉,尽在微信号【凤凰证券】或者【ifengstock】