


赚钱效应下,基金代销江湖的“马太效应”本就明显,强监管之下,更有基金销售公司被洗牌,或面临出局之虞。
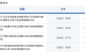
7月11日,北京监管局同时对2家基金销售公司及各家总经理出具监管罚单。根据决定书,因多项违规行为,北京监管局责令电盈基金、乾道基金分别暂停办理相关业务12个月、3个月,两家公司总经理曲馨月、董云巍均被出示警示函。
行业发展叠加监管趋严,基金代销机构违规被罚的情况不在少数。第三方基金销售公司已成“重灾区”,连带着实控人或高管难逃责罚,且惩处力度加强。
就在上周,喜鹊财富及其董事长王峥峰,同时收到了来自西藏监管局的罚单。西藏监管局列数了喜鹊财富在经营管理上、内部控制、信息技术三大方面共计9项违规行为。与此同时,西藏监管局采取责令喜鹊财富暂停办理相关业务6个月。
当前,基金公司对第三方销售机构的合规性要求越来越高。已有多家基金公司暂停与喜鹊财富代销业务。就在今年6月,平安基金、东方基金发布公告,暂停与喜鹊财富的业务合作。2021年初及2020年末,北信瑞丰基金、建信基金、天冶基金相继暂停了与喜鹊财富的代销业务合作。
被暂停业务外,部分基金代销机构因违规,甚至被注销了基金销售牌照。
在第三方基金代销机构中,有一类属于财富公司。通常而言,负面缠身的代销机构往往出自此类财富平台。为了卖出基金,代销机构在营销上使出浑身解数,不惜踏过监管红线。伴随着大量违规案例被揭露,基金代销机构惯用的营销手段逐步浮出水面,主要表现为两类“诱导”手段。
多家基金代销机构及总经理均被处罚
经前期现场检查,电盈基金在基金销售业务中存在五项违规行为。据此,北京监管局决定对其采取责令暂停办理相关业务12个月的行政监管措施。
该决定书披露了电盈基金在进行代销基金业务的过程中存在的五项问题:
(一)未向北京监管局报告实控人存在涉嫌刑事犯罪情形以及全部股权被冻结等重大事项,长期隐瞒公司已无法正常运作相关情况;
(二)取得基金从业资格的实际在岗人数仅1人,长期持续不满足20人要求;
(三)不能确保基金销售信息管理平台安全、高效运行,未建立符合规定的灾难备份系统和应急预案;
(四)财务状况较差,净资产为负值,不能满足日常运营和风险防范的需要;
(五)未及时向北京监管局备案办公地址变更事项。
同一时间还有警示函指出曲馨月作为公司总经理对上述问题负有责任。
同日,北京监管局对另一家第三方基金销售公司乾道基金及其总经理董云巍出具罚单。
根据行政监管措施的决定书,北京监管局责令乾道基金暂停办理相关业务3个月。
经前期现场检查,北京监管局发现乾道基金在基金销售业务中存在八项问题:
(一)移动端APP部分页面信息展示有误,且不具备披露基金从业人员信息等功能,不符合基金销售业务信息管理平台相关要求;
(二)取得基金从业资格人员不足20人;
(三)业务部门之间缺少必要的物理隔离和人员配备,内部控制不健全,相关制度更新不及时;
(四)未将基金销售保有规模、投资人长期投资收益纳入考核评价体系;
(五)未设立专门的合规风控管理部门;
(六)业务开展独立性不足,与关联方乾道投资基金管理有限公司、乾道投资控股集团有限公司存在混同情况,高管人员在关联方乾道投资控股集团有限公司担任经营性职务;
(七)财务状况不佳,投资于高流动性资产的净值低于2000万元;
(八)未及时向监管备案高级管理人员变更事项。
作为总经理,董云巍对上述问题负有责任,被北京监管局采取出具警示函的行政监管措施。
而就在上一个交易日,喜鹊财富及其董事长王峥峰,同时收到了来自西藏监管局的罚单。
西藏监管局指出,喜鹊财富在经营管理上存在5类违规行为,并在内部控制、信息技术方面均存在4类违规行为。基于此,西藏监管局采取责令喜鹊财富暂停办理相关业务6个月。
实际上,包括电盈基金、乾道基金在内的多家第三方基金销售公司,所涉违规事项基本被包含在上述的经营管理、内部控制、信息技术之中。
第三方基金销售公司已成处罚“重灾区”
行业发展叠加监管趋严,基金代销机构违规被罚的情况不在少数。第三方基金销售公司已是 “重灾区”,连带着实控人或高管难逃责罚,且惩处力度加强。
这其中,浙江监管局2021年对私募基金代销机构金观诚的实控人和董事长的行政处罚较为严厉。
去年6月7日,浙江监管局针对金观诚下发2则行政处罚决定书。经浙江监管局查明,金观诚存在2大违法事实:
一是金观诚通过电话陌生拜访、发送信息、组织客户转介绍及与第三方渠道签订推介潜在客户合同等方式直接或间接向不特定对象宣传推介。根据金观诚CRM系统数据显示,公司所有客户电话记录超过350万条。2018年2月至6月,通过老客户转介绍方式,金观诚合计募集资金3.141亿元。2017年1月至2018年5月,12家第三方机构为金观诚介绍了32名客户,合计募集资金9.97亿元,支付渠道费用1197.77万元。
二是金观诚作为基金销售机构,在资金募集过程中,存在直接承诺保本保收益,或者通过宣传以往产品按照约定收益率兑付、强调募集产品具有固定收益和地方政府背景等引导投资者形成相关产品保本保收益的预期。
据此,浙江证监局对金观诚责令改正、给予警告,并处以3万元罚款。
而韦杰作为金观诚实控人,在相关私募基金的投向、募集、销售、管理等环节享有最终决策权,负责金观诚的整体事务,是本案直接负责的主管人员。蒋雪琦作为金观诚董事长、总经理,负责金观诚日常基金的募集,是本案直接负责的主管人员。
依据相关法规,浙江证监局决定对韦杰给予警告,处以3万元罚款,并采取10年证券市场禁入措施;对蒋雪琦给予警告,并处以3万元罚款,并采取5年证券市场禁入措施。
而此前几年,金观诚吃到的罚单也不在少数。2018年一整年,金观诚收到3份监管罚单。当年4月,因不配合浙江证监局开展现场检查工作,金观诚时任法人代表徐黎云被要求接受监管谈话。
需要注意的是,金观诚的母公司为金诚集团。2019年,金诚集团涉嫌非法集资被查,包括实控人在内的52人遭刑事强制措施。
第三方代销机构违规做法浮出水面
赚钱效应下,基金代销江湖的“马太效应”本就明显。当监管力度加强、准入门槛抬高,第三方代销“洗牌”正在加速。
根据中基协官网,目前已获机构会员资格的独立第三方销售机构共有101家,喜鹊财富则是西藏辖区内唯一一家获基金销售牌照的第三方机构。
截至目前,已有多家基金公司暂停与喜鹊财富代销业务。就在今年6月,平安基金、东方基金发布公告,暂停与喜鹊财富的业务合作。2021年初及2020年末,北信瑞丰基金、建信基金、天冶基金相继暂停了与喜鹊财富的代销业务合作。
被暂停业务外,部分基金代销机构因违规,甚至被注销了基金销售牌照。
有媒体统计,自2021年11月,大泰金石、财路基金、长春发展农村商业银行、山东寿光农村商业银行等12家第三方销售机构被注销代销牌照。
第三方基金代销机构主要分大三类:一是互联网类,即包括支付类和专门代销基金的互联网平台;二是金融机构类,包括银行、券商等;第三类则是一些财富公司。通常而言,负面缠身的代销机构往往出自此类财富平台。
而频繁违规的原因,一是在于此类财富公司的运营成本较高,仅仅代销基金盈利困难;二是财富公司本身服务于集团,募集任务较重,为完成业绩目标,过度宣传、虚假宣传等违规行为难禁;三是部分公司是集团式运作,即是销售机构,又是私募基金管理人。有观点指出,这类机构“尽管在注册登记时已经分离,但还是完全相同的一套班子,一个办公地点,这类行为往往容易导致违规行为发生”。
为了卖出基金,代销机构在营销上使出浑身解数,不惜踏过监管红线。伴随着大量违规案例被揭露,基金代销机构惯用的营销手段逐步浮出水面,“诱导”意味明显,主要有2种手段:
首先,最直接也是最惯用的方式是晒过往业绩,但过往业绩并不代表着未来的业绩表现。
根据《证券投资基金销售管理办法》规定,基金宣传推介材料可以登载该基金、基金管理人管理的其他基金的过往业绩,但是必须符合一些要求和规定,且应当特别声明,基金的过往业绩并不预示其未来表现,基金管理人管理的其他基金的业绩并不构成基金业绩表现的保证。
其次,在销售过程中“让利”投资者,包括回扣、送红包、抽奖、送礼品等。
上述《办法》明确指出,基金销售机构从事基金销售活动,不得采取抽奖、回扣或者送实物、保险、基金份额等方式销售基金。
“特别声明:以上作品内容(包括在内的视频、图片或音频)为凤凰网旗下自媒体平台“大风号”用户上传并发布,本平台仅提供信息存储空间服务。
Notice: The content above (including the videos, pictures and audios if any) is uploaded and posted by the user of Dafeng Hao, which is a social media platform and merely provides information storage space services.”