
这几天,江苏媒体《南京零距离》为老百姓做了一件好事。
他们报道说,南京市民陈先生在超市购买了一款今麦郎“手打挂面”,这大大的“手打挂面”旁边,还写着“好像妈妈的手打面”。可在面条煮熟后,陈先生说,根本就没有一点手打面的感觉。

记者去追问超市,追问今麦郎公司,得到回复:当然不可能是手工,都是机械流水线生产。“手打”只是商标。
这则报道是3月30日晚间发出来的,到了4月1日,今麦郎集团董事长范现国发视频回应,全文如下:
“网友朋友们,大家好,昨天网上有关手打挂面的讨论我都看到了。‘手打’商标是2006年注册的,已经用了20年。随着时代的进步,消费者认知的提升,产品也必须跟上时代的步伐。为了避免给大家带来产品表述上的困扰,我们决定,不再使用‘手打’商标。从4月2日凌晨起,也就是今天晚上,我们会立即停止生产所有带有“手打”商标的产品。感谢大家多年对今麦郎的支持,今后,我们欢迎大家多给我们提出宝贵的意见,督促我们不断进步。”

如此结局,初看过去,是一个好故事:
消费者目光如电,洞察本相;新闻媒体仗义执言、文思缜密;企业老板从善如流、火速改正……
总之,皆大欢喜。
可是,真相往往不只有这样一个切面。
真相是什么呢?事实至少还有另外两个切面。
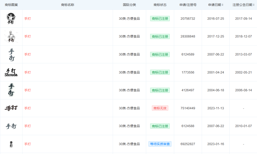
第一个切面。在今麦郎,“手打”是关键词,他们有许多种“手打”面,手打拉面、手打挂面、手打劲宽面……这些产品在全国多数超市常销。自2001年开始,今麦郎就申请注册了一大批“手打”商标,除了“手打”,还有手打鲜粉、手打师傅、手打先生等等,这一注册行为,至少持续到2023年。

我用了不到5分钟就通过公开渠道查到,今麦郎注册成功第一个“手打”商标是2002年,而不是今麦郎董事长范现国昨天所说的2006年。
很难想象,在这么关键的事实信息上,今麦郎公司的董事长比我还不了解今麦郎。
简单来说,在“手打”这个问题上,今麦郎并非误导、忽悠、欺骗了中国消费者20年,而是24年。

第二个细节。早2018年,《中国消费者报道》就披露了一则诉讼:在湖北武汉,有一位叫做徐纲的消费者,2013年到2015年在武汉一家超市买了一共1121.1元“今麦郎、华龙系列手打面”。后来,他将今麦郎诉至法庭:这些年是普通机制挂面,不是手工制作挂面,不符合国家标准。法院也认定,今麦郎用较大字体和显著颜色标识为“手打”,易使消费者误解该产品为手工制作,误导消费者,判令“退一赔十”。


在当时,同样这样干的还有另一个厂家的“裕湘手擀面”,也被法院判“退一赔十”。
一个民事案件,在最终判决之前,是有多个调解、和解机会的,但是今麦郎并没有使用这些机会,而是让案件走到最终阶段,可见,这家企业对于“手打”的坚持。
最重要的是,法院判决,并没有让今麦郎中止对消费者的误导。这么多年过去,在法院判决之后,今麦郎一如既往。
这种态度本身已经说明了问题。
为什么我在文章开始不惜篇幅、不顾行文节奏也把范董事长的视频全文都抄录下来?因为,在范董事长的视频中,不仅有事实错误,而且,对消费者没有一句道歉,没有一句对不起,反而是说“为了避免给大家带来产品表述上的困扰”,似乎还是“为了大家好”自己不得不做出牺牲。
就我的个人观感而言,直到今日,今麦郎并没有意识到自己错在哪里,也不准备为自己过往的行为负责。对于这样的企业,我给他们的“心机度”打100分,赖皮度打80分,诚信度打20分。
当然,今麦郎之所以不松口,恐怕也可能是因为“别人也这样,干嘛单单说我”。因为,“心机商标”就在我们身边。
比如,自称“天猫NO.1护发素”的潘婷,在官方旗舰店卖的“潘婷三分钟奇迹护发素”系列洗发护发产品,实际上, “潘婷三分钟奇迹”是注册商标,而非功效。

同样情况的还有:
“一品牛肉干”里,“一品牛”是商标,里面没有一点牛肉。
“壹号土猪”中,“壹号土”是注册商标,实则是普通猪肉。
“山里来的土鸡蛋”中,“山里来的土”是注册商标,它就是普通鸡蛋。
“0添加西梅”中,“0添加西”是注册商标,它的真面目就是梅。
“零蔗糖冰淇淋”中,“零蔗糖”是注册商标,它就是普通冰淇淋。
“120W充电器”中,“120W”其实是注册商标。
“安踏断码鞋子”中,“安踏断码”是注册商标。
正是在这样的环境下,一些企业,包括一些大型企业,即便被消费者告上法庭了,即便法院判决了,他们依然心安理得、我行我素。甚至,媒体的报道也并不能都起到作用,非得形成了大的舆论浪潮,才会有些许触动,还扭扭捏捏,一副受了天大委屈的样子。
24年如一日。说到底,是社会约束机制失灵了。为什么在消费者、法院和媒体都做出努力的情况下,依然失灵?答案其实每个人都知道:有一批人,尸位素餐。
如果要说这些“心机商标”的心机有多深,也不见得,他们大多是堂而皇之的,有经验的监管者随便走一趟超市都可以揪出一大批来。甚至,不去超市,随便一个手机购物APP,一个小时就可以拎出一堆虚假宣传、误导消费者的商家来。
对于今麦郎、潘婷这类常年误导、欺骗消费者的企业,舆论是最后的约束,大众用脚投票是最后的反制,因此,我的选择首先是:把它们列入私人购物黑名单,绝不把自己的哪怕一分钱花在它们身上。
呦呦鹿鸣20260402