海通证券股份有限公司公开发行公司债券募集说明书摘要(第一期)





截至2013年3月31日,公司主要股权结构情况如下图所示:
注:1、本公司H股股东中,非登记股东的股份由香港中央结算(代理人)有限公司代为持有。
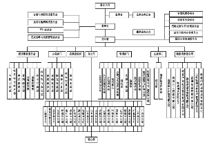
四、发行人的组织结构及权益投资情况
(一)公司的组织结构图
根据《公司法》等有关法律法规的规定,公司建立了较完整的内部组织结构。截至2013年3月31日,公司内设部门组织结构关系如下图所示:
(二)公司重要权益投资情况
1、对控股子公司的投资
截至2013年3月31日,公司主要全资子公司4家、控股子公司3家,基本情况如下表所示:
2、对参股公司的投资
截至2013年3月31日,公司并无合营企业,下属1家联营企业的具体情况如下表所示:
五、发行人的控股股东及实际控制人情况
公司股东持股较为分散。截至2013年3月31日,无直接持有本公司5%以上股份的股东(不包括香港中央结算(代理人)有限公司)。香港中央结算(代理人)有限公司所持股份为H股非登记股东所有。公司无控股股东及实际控制人。
六、公司治理结构
公司根据《公司法》、《证券法》、中国证监会相关法规的要求及香港联交所上市规则等相关规定,不断完善法人治理结构,进一步建立健全了合规风控制度和内控管理体系,形成了股东大会、董事会、监事会和经营管理层相互分离、相互制衡的公司治理结构,使各层次在各自的职责、权限范围内,各司其职,各负其责,确保了公司的规范运作。本公司“三会”(股东大会、董事会、监事会)的召开程序、表决程序合法有效,信息披露真实、准确、完整、及时、公平,能够严格按照《公司内幕信息知情人登记制度》的有关规定,加强对公司内幕信息的管理,做好内幕信息知情人登记工作,投资者关系管理专业务实,公司治理科学、规范、透明。
(一)股东大会
股东大会是公司的权力机构,股东通过股东大会行使权力。公司严格按照《公司章程》等相关规定召集、召开股东大会,确保所有股东、特别是中小股东享有平等的地位,能够充分行使自己的权利。
(二)董事会及下设专门委员会
董事会按照《公司章程》的规定行使其职权,以公司及股东的最大利益为原则,向股东大会报告工作,执行股东大会的决议,对股东大会负责。
公司董事会下设四个专门委员会,各委员会主要职责如下:
1、发展战略与投资管理委员会
发展战略与投资管理委员会的主要职责为:对公司中长期发展战略规划进行研究并提出建议;对公司章程规定须经董事会批准的重大投资融资方案进行研究并提出建议;对公司章程规定须经董事会批准的重大资本运作、资产经营、并购重组等进行可行性论证并提出建议;对其他影响公司发展的重大事项进行研究并提出建议;对以上事项的实施进行检查督导;董事会授权的其它事宜。
2、合规与风险管理委员会
合规与风险管理委员会的主要职责为:依据法律、法规及监管政策制定合规管理政策供董事会审核;审查、监督公司合规管理制度的科学性、合理性、有效性以及执行情况;制定公司风险管理的原则和重要风险的界限;审查、监督经营管理层制订的内部控制制度的执行情况,并就此进行督导。
3、提名与薪酬考核委员会
提名与薪酬考核委员会的主要职责为:研究董事、经理人员的选择标准和程序并提出建议;广泛搜寻合格的董事和经理人员人选;对董事和经理候选人进行审查并提出建议;检讨董事会的架构、人数及组成(包括技能、知识及经验方面),并就任何为配合公司的策略而拟对董事会作出的变动提出建议;评核独立非执行董事的独立性,并就董事委任、重新委任以及董事(尤其是董事长及总经理)继任计划向董事会提出建议;制定薪酬政策,包括但不限于绩效评价标准、程序及主要评价体系,奖励和惩罚的主要方案和制度等;根据审计委员会的年度审计结果,审查公司董事及经理人员履行职责情况,对其进行年度绩效考评,并提出建议;对公司的薪酬改革方案进行评议,批准执行董事服务合约条款,同时对公司薪酬制度执行情况进行监督。
4、审计委员会
审计委员会的主要职责为:提议聘请或更换外部审计机构,批准外部审计机构的薪酬及聘用条款;保证外部审计机构的客观独立性及审核程序有效;审核公司的财务信息及其披露,根据需要对重大关联交易进行审核;审查公司及各子公司、分公司的财务监控、内控制度及风险管理制度的科学性、合理性、有效性以及执行情况。检讨集团的财务及会计政策及实务;董事会赋予的其它职责。
(三)监事会
监事会是公司的监督机构,对股东大会负责。监事会根据《公司法》和《公司章程》的规定,负责监督公司的财务活动与内部控制,监督董事、高级管理人员执行公司职务行为的合法、合规性。
(四)董事长及总经理
公司董事长和总经理职务分别由不同人士担任,以确保各自职责的独立性、可问责性以及权力和授权的分布平衡。董事长由王开国先生担任,总经理由李明山先生担任,董事会审议通过《董事会议事规则》和《总经理工作细则》分别对董事长和总经理的职责分工进行了明确的界定。
七、发行人董事、监事、高级管理人员基本情况
(一)董事、监事、高级管理人员基本情况
截至本募集说明书出具之日,发行人现任董事、监事及高级管理人员基本情况如下:
注:1、公司第五届董事会第十六次会议提名肖遂宁先生出任公司的独立董事、第五届监事会第九次会议推荐李林先生为公司第五届监事会监事,2013年5月27日召开的公司2012年度股东大会审议批准了上述两项任职;2、王玉贵先生因年龄原因,已向监事会提出辞去监事职务。公司第五届监事会第十一次会议推荐胡京武先生为公司第五届监事会监事候选人,2013年10月16日召开的公司2013年度第一次临时股东大会审议批准了上述任职;
3、2013年1月23日,王益民先生因年龄原因辞去监事会主席,依据《公司章程》第195条规定,在选举产生新的职工监事之前其仍然履行职工监事的职责;
4、2013年8月22日,公司第五届董事会第十九次会议同意聘任裴长江先生担任公司副总经理,其高管任职资格已获中国证监会核准。
(二)董事、监事、高级管理人员从业简历
1、执行董事(2名)
(1)王开国,1958年出生,经济学博士,高级经济师。曾担任国家国有资产管理局科研所副所长、政策法规司政研处处长,本公司副总经理、党组书记、总经理,上海世茂股份有限公司非执行董事;现任本公司董事长兼执行董事、党委书记,同时兼任上海证券交易所理事、中国证券业协会副会长、平安银行股份有限公司非执行董事和上海氯碱化工股份有限公司独立非执行董事。
(2)李明山,1952年出生,经济学、管理学硕士,高级经济师。曾任上海申银证券公司副总经理、申银万国证券股份有限公司副总经理、上海证券交易所副总经理;现任本公司总经理兼执行董事、党委副书记,同时兼任富国基金管理有限公司董事。
2、非执行董事(8名)
(1)庄国蔚,1954年出生,经济学、工商管理硕士,中国注册职业经理人注册经理。曾任上海市五四农场及上海农工商集团五四总公司总经理兼党委副书记;上海市农工商(集团)总公司资产经营部经理、副总经理,上海市都市农商社股份有限公司副董事长,上海海博股份有限公司董事长;现任本公司非执行董事,光明食品(集团)有限公司副总裁,光明乳业股份有限公司董事长,上海海博股份有限公司董事,农工商房地产(集团)股份有限公司董事长。
(2)周东辉,1969年出生,大学本科,高级会计师。曾任上海烟草(集团)公司财务科副科长、资金物价科副科长,中国烟草上海进出口有限责任公司财务部副经理、经理,上海烟草(集团)公司投资管理处副处长;现任本公司非执行董事,上海烟草(集团)有限责任公司财务管理处副处长,东方证券股份有限公司非执行董事。
(3)何健勇,1962年出生,经济学学士。曾任辽宁省能源开发公司财务处助理会计师、节能产品经销部副经理,辽宁能源物资公司财务科科长,辽宁节能热电集团公司副经理,辽宁能源总公司副总经理、常务副总经理,辽宁能源投资(集团)有限责任公司总经理、副董事长;现任本公司非执行董事,辽宁能源投资(集团)有限责任公司董事长、党委书记。
(4)张建伟,1954年出生,工商管理硕士,高级经济师。曾任上海久事公司实业部总经理、总经理助理,上海海立股份有限公司董事,申银万国证券股份有限公司非执行董事;现任本公司非执行董事,上海久事公司副总经理,上海国际信托有限公司董事,申能股份有限公司董事及太平洋保险集团股份有限公司监事。
(5)徐潮,1955年出生,工商管理硕士,高级经济师。曾任上海汽轮机厂的机关行政党支部副书记、机关行政党支部书记和改革办副主任;上海汽轮机有限公司财务处长、财务部长、财务总监、副总裁,上海电气资产管理有限公司财务总监,上海电气(集团)总公司财务预算部部长,上海电气实业公司执行董事及法定代表人;现任本公司非执行董事,上海电气资产管理有限公司副总裁,东方证券股份有限公司非执行董事,上海集优机械股份有限公司监事长,上海海立(集团)股份有限公司副董事长,上海自动化仪表股份有限公司监事长。
(6)王鸿祥,1956年出生,工商管理硕士,高级会计师。曾任上海财经大学副教授;现任本公司非执行董事,申能(集团)有限公司副总会计师。
(7)李葛卫,1967年出生,理学学士,经济师。曾任凌云工业股份有限公司董事,四川方向光电股份有限公司独立非执行董事;现任本公司非执行董事,新世界策略投资有限公司执行董事,西藏林芝福禧珠宝金行有限公司副总经理,深圳市翔龙通讯有限公司常务副总经理,东方集团股份有限公司独立非执行董事。
(8)冯煌,1971年出生,工商管理硕士,经济师,企业法律顾问。现任本公司非执行董事,上实投资(上海)有限公司董事、总裁,上海上实投资管理咨询有限公司董事及总裁,上海陆家嘴金融贸易区联合发展有限公司董事,上海奇想青晨新材料股份有限公司副董事长,上海振东汽车服务有限公司董事长,上海市信息投资股份有限公司董事,上海实业投资有限公司董事长,南洋酒店(香港)有限公司董事长。
3、独立非执行董事(7名)
(1)夏斌,1951年出生,经济学硕士,研究员。曾任中国人民银行金融研究所主任、副所长,中国证监会交易部主任,深圳证券交易所总经理,中国人民银行政策研究室副主任,中国人民银行非银行机构司司长,国务院发展研究中心金融研究所所长;现任本公司独立非执行董事,国务院发展研究中心金融研究所名誉所长。
(2)陈琦伟,1952年出生,经济学博士,教授及博士生导师。现任本公司独立非执行董事,上海交通大学安泰经济与管理学院教授及博士生导师,上海亚商发展集团有限公司董事长,上海东方明珠(集团)股份有限公司独立非执行董事,广州发展实业控股集团股份有限公司独立非执行董事,中国企业家论坛理事及新沪商联合会轮值主席。
(3)张惠泉,1967年出生,经济法硕士,律师。曾任北京市景山区人民法院政治处干部、研究室主任和审判员;现任本公司独立非执行董事,北京嘉诚泰和律师事务所律师。
(4)张鸣,1958年出生,经济学(会计学)博士,教授及博士生导师。曾任上海财经大学会计学院副院长;现任本公司独立非执行董事,上海财经大学教授及博士生导师,上海申达股份有限公司独立非执行董事,上工申贝(集团)股份有限公司独立非执行董事。
(5)戴根有,1949年出生,高级经济师,获国务院授予特殊津贴。曾任中国人民银行安庆支行副行长,中国人民银行调查研究室经济分析一处处长,中国人民银行调查统计司经济分析处处长、副司长、巡视员,中国人民银行货币政策司司长兼任货币政策委员会秘书长,中国人民银行征信管理局局长,中国人民银行征信中心主任;现任本公司独立非执行董事,上海张江高科技园区开发股份有限公司独立非执行董事。
(6)刘志敏,1951年出生,工商管理学士。曾任香港证券及期货事务监察委员会收购上诉委员会委员、收购及合并委员会副主席,中集来福士海洋工程(新加坡)有限公司独立非执行董事;现任本公司独立非执行董事,开达集团有限公司独立非执行董事,星和有限公司独立非执行董事,OUE Hospitality Trust Management Pte. Ltd.和OUE Hospitality REIT Management Pte. Ltd.非执行董事。
(7)肖遂宁,1948年出生。曾任云南水利发电建设公司三分公司电工、班长,水利发电建设公司喷水洞工区机电排长、电力技术员、工程师,云南电力设计院电气设计员、技术员、工程师,电力设计院发电厂发电室副主任,昆明银鼎实业公司总经理,云南省电力设计院代总经济师、代总会计师,交通银行重庆分行人事教育处处长、总经理助理、总助兼房地产开发公司总经理、副总经理、党组成员,交通银行珠海分行行长、党组书记(副局),交通银行深圳分行行长、党组书记(正厅局级),深圳发展银行总行行长、董事长,平安银行股份有限公司董事长;现任本公司独立非执行董事,平安银行股份有限公司顾问。
4、监事(11名)
(1)杨庆忠,1956年出生,工程研究生,高级政工师。曾任本公司党委办公室副主任兼纪委委员、党委组织部副部长、培训中心总经理、党群工作部主任;现任本公司职工监事兼监事会副主席、纪委书记、党委组织部部长。
(2)董小春,1964年出生,工商管理硕士,高级会计师。曾任华联超市股份有限公司财务总监兼董事会秘书,上海百联集团股份有限公司百货事业部财务总监,上海百联集团股份有限公司董事、董事会秘书兼财务总监;现任本公司监事,上海友谊集团股份有限公司董事会秘书兼财务总监。
(3)吴芝麟,1952年出生,大学本科,高级编辑。曾任《解放日报》编委及文艺部主任,人民日报社华东分社副总编辑,《文汇报》副总编辑;现任本公司监事,文汇新民联合报业集团党委委员,《新民晚报》党委书记兼副总编辑,上海东体传媒有限公司监事会主席。
(4)金燕萍,1955年出生,文学学士,高级政工师。曾任上海对外贸易总公司党委委员兼党委办公室副主任,上海海外公司党总支书记,上海广告有限公司党委副书记兼副总经理,上海实业(集团)有限公司上海办事处常务副主任兼党总支书记,上海兰生(集团)有限公司研究室主任、一般企业业务部经理,上海兰生股份有限公司董事;现任本公司监事,上海兰生(集团)有限公司总裁助理兼投资管理部总经理,东吴基金管理有限公司副董事长,上海中信国健药业股份有限公司监事长。
(5)许奇,1962年出生,硕士研究生,会计师,中国注册职业经理人,中国企业经营管理人才库成员(高级),合资格职业董事及合资格董监事(高级),高级国际财务管理师。曾任上海氯碱化工股份有限公司资产经营部副经理、资产财务部副经理,上海天原集团有限公司资产财务部副经理,上海东方明珠(集团)有限公司计划财务部经理及财务副总监;现任本公司监事,上海东方明珠(集团)有限公司财务总监。
(6)邢建华,1959年出生,经济学学士,高级会计师。曾任上海市化学工业局财务处科员,上海市化肥联合公司财务部副主任,上海胶带股份有限公司副总会计师、董事及副总经理,上海华谊(集团)公司资产部经理,东方国际(集团)有限公司财务部副部长、部长、资产运作部部长,东方国际创业股份有限公司董事。现任本公司监事,东方国际(集团)有限公司副总经济师,上海东方国际资产经营管理有限公司副董事长,上海丝绸(集团)有限公司董事。
(7)李林,1962年出生,工商管理硕士,讲师。曾任上海财经大学会计学院教师,上海淮海商业(集团)有限公司副总会计师,上海农工商(集团)总公司财务副总监,上海市都市农商社股份有限公司董事、副总裁、财务总监,农工商房地产(集团)股份有限公司董事、副总裁、财务总监;现任本公司监事,光明食品(集团)有限公司财务部总经理。
(8)胡京武,1955年出生,经济学学士。曾任中远(集团)总公司运输部副总经理,中国保赔服务(香港)有限公司董事及副总经理,中国船东互保协会常务副总经理;现任中国船东互保协会总经理。
(9)王益民,1951年出生,管理学博士,高级经济师。曾任中国建设银行上海市分行科长及副处长,中国建设银行上海浦东分行副行长,国泰证券有限公司执行董事兼副总经理,国泰君安证券股份有限公司监事会主席及纪委书记,东方证券股份有限公司董事长及党委书记;2013年1月23日,王益民先生辞任公司监事会主席,依据《公司章程》第195条规定,在选举产生新的职工监事之前其仍然履行职工监事的职责。
(10)仇夏萍,1960年出生,工商管理硕士,会计师。曾任中国工商银行杨浦分行干部,以及在中国工商银行浦东分行、华夏证券有限公司东方路营业部任职,本公司财务会计部财务部科长、计划财务部总经理助理;现任本公司职工监事、计划财务部副总经理,兼任海通期货有限公司董事、海通开元投资有限公司董事、富国基金管理有限公司监事、海通吉禾股权投资基金管理有限责任公司监事。
(11)杜洪波,1963年出生,工业自动化学士,工程师。曾任职于武汉市计算器应用开发研究所、四通集团武汉分公司及武汉软件研究中心、国泰君安证券股份有限公司信息技术部,曾任本公司网站管理部和经纪业务总部总经理助理、风险控制总部副总经理、合规与风险管理总部总经理;现任本公司职工监事、柜台市场部总经理。
5、其他高级管理人员(11名)
(1)吉宇光,1957年出生,硕士研究生,高级经济师。曾任北京市计委财金处干部,中国交通银行北京分行证券交易营业部副经理、经理,本公司北京郎家园营业部负责人及总经理,吉林省现代农业和新兴产业投资基金有限公司董事长;现任本公司副总经理,兼任海通国际控股有限公司董事会主席,海通国际证券集团有限公司董事会主席。
(2)任澎,1962年出生,工商管理硕士,经济师。曾任职于工商银行西湖办事处,曾任中国交通银行杭州分行储蓄业务主管及证券部经理,本公司杭州营业部经理,海通开元投资有限公司董事;现任本公司副总经理,兼任中国-比利时直接股权投资基金董事、吉林省现代农业和新兴产业投资基金有限公司董事长。
(3)吴斌,1973年出生,经济学博士,律师。曾任本公司投资银行部项目经理、总经理办公室副科长及科长、国际业务部总经理助理、总经理办公室副主任及主任、合规总监,上海市政府督查专员助理(挂职),海通国际证券集团有限公司非执行董事;现任本公司副总经理,兼任海通国际控股有限公司董事、战略发展与IT治理委员会主任、投资银行委员会委员。
(4)李迅雷,1963年出生,经济学硕士。曾任上海财经大学经济及金融研究所图书管理员及助理研究员,君安证券有限责任公司研究所副所长,国泰君安证券有限公司研究所副所长、研究所所长及销售交易部总经理、总裁助理兼首席经济学家;现任本公司副总经理兼首席经济师。
(5)宫里啓晖,1965年出生,生物物理与生物化学硕士。曾任Credit Suisse First Boston(现为Credit Suisse Group AG)固定收益部门经理,Deutsche Genossenschaftsbank AG(现为Deutsche Zentral-Genossenschaftbank AG)东京分行亚洲部主任,J.P. Morgan东京分行自营投资部全球市场投资经理,Nikko (Citi) Asset Management Co., Ltd.全球战略资产管理的基金经理、另类投资高级基金经理、中国投资部总经理、大中华区总裁,融通基金管理有限公司董事兼股东代表,本公司国际业务部总经理、国际业务协调委员会专员、战略发展与IT治理委员会专员;现任本公司副总经理。
(6)裴长江,1965年出生,经济学硕士研究生,经济师。曾任上海万国证券公司闸北营业部总经理助理、总经理,申银万国证券公司浙江管理总部副总经理,经纪总部副总经理,华宝信托投资有限责任公司投资总监,华宝兴业基金管理有限公司董事、总经理,华宝兴业资产管理(香港)有限公司董事长;现任本公司副总经理。
(7)王建业,1958年出生,硕士研究生,高级经济师。曾任中国人民银行内蒙古分行金融管理处副主任科员、副处长,内蒙古自治区证券公司证券部副总经理,内蒙古自治区证券公司副总经理,本公司交易部主管、业务管理总部副总经理、综合业务管理总部总经理、总经理助理、经纪业务总部总经理、风险控制总部总经理;现任本公司合规总监及首席风险控制执行官。
(8)李础前,1957年出生,经济学硕士,高级经济师。曾任安徽省财政厅中企处副主任科员,安徽省国有资产管理局科长,本公司计划财务部主管、财务会计部副总经理、财务会计部总经理及财务副总监;现任本公司财务总监、计划财务部总经理,兼任海富通基金管理有限公司监事长,海富产业投资基金管理有限公司董事,上海界龙实业集团股份有限公司董事。
(9)金晓斌,1954年出生,经济学博士、金融学博士后,副研究员,获国务院政府特殊津贴。曾任本公司研究发展中心副总经理、研究所所长、经纪业务总部总经理、并购融资部总经理、总经理助理,中国证券业协会分析师委员会副主任委员;现任本公司董事会秘书、联席公司秘书、投资银行委员会副主任,海通新能源投资基金管理公司董事长,中国证券业协会的证券公司专业评价专家。
(10)陈春钱,1964年出生,经济学博士。曾任本公司深圳分公司业务部负责人、国际业务部副总经理、深圳分公司副总经理、投资管理部(深圳)总经理、销售交易总部总经理、机构业务部总经理;现任本公司总经理助理,兼任公司经纪业务委员会主任、国际业务协调委员会委员、战略发展与IT治理委员会委员,中国证券业协会证券经纪业专业委员会委员。
(11)李建国,1964年出生,经济学博士。曾任河南省证券有限公司总经理,本公司副总经理,富国基金管理有限公司副董事长及总经理;现任本公司总经理助理,兼任海通国际控股有限公司副董事长,海通国际证券集团有限公司执行董事、副主席,战略发展委员会成员。
(三)董事、监事、高级管理人员兼职情况
截至本募集说明书出具之日,发行人现任董事、监事及高级管理人员的兼职情况如下:
1、在股东单位任职的情况
2、在其他单位任职情况
八、发行人的主要业务
(一)发行人主营业务介绍
公司是我国最早成立的证券公司之一。目前已经发展成为国内证券行业中资本规模第二大的综合性证券公司。公司经营范围包括证券经纪;证券自营;证券承销与保荐;证券投资咨询;与证券交易、证券投资活动有关的财务顾问;证券资产管理;直接投资业务;证券投资基金代销;为期货公司提供中间介绍业务;融资融券业务;中国证监会批准的其他业务,公司可以对外投资设立子公司从事金融产品等投资业务。
发行人在中国境内主要的五项主要业务包括:
1、证券及期货经纪业务,主要包括代理客户买卖股票、债券、基金、权证及期货产品,并为客户提供融资融券和投资顾问服务。从事期货经纪业务的子公司有海通期货有限公司(以下简称“海通期货”)。
2、投资银行业务,主要是指为机构客户提供企业财务服务,包括股权承销和债券承销及财务顾问等服务。
3、资产管理业务,主要通过子公司上海海通证券资产管理有限公司(以下简称“海通资产管理”)、海富通基金管理有限公司(以下简称“海富通基金”)以及联营公司富国基金管理有限公司(以下简称“富国基金”)提供传统资产管理产品和服务。此外,海通证券通过海富产业投资基金管理有限公司、海通吉禾股权投资基金管理有限责任公司和海通创意资本管理有限公司(以下简称“海通创意资本”)经营私募股权基金资产管理业务。
4、自营业务,主要通过自有账户进行股票、债券、基金、衍生工具及其他金融产品交易,2012年新设子公司海通创新证券投资有限公司(以下简称“海通创新投资”)。
5、直接投资业务,主要通过子公司海通开元投资有限公司(以下简称“海通开元”)进行包括对非上市公司的直接股权投资,并透过IPO或股份销售退出该等私募股权投资或透过从所投资的公司分得股利以赚取资本收益。此外,公司还使用自有资本对私募股权基金进行投资。
发行人主要通过于香港注册的子公司海通国际控股有限公司(以下简称“海通国际控股”)开展海外业务。海通国际控股的子公司海通国际证券集团有限公司(以下简称“海通国际证券”)为香港领先的全方位证券公司,向香港及海外为数众多的零售顾客及机构客户提供证券及期货经纪、企业融资及顾问服务、资产管理服务,以及其他证券产品和服务。
(二)发行人主营业务经营情况
1、公司主营业务构成情况
报告期内,公司主营业务收入按行业划分情况如下表所示:
2、各项主营业务情况分析
近三年,股票市场较为低迷,上证指数从2010年初3,290点下降至2012年末2,269点,降幅达31%,且股指屡创新低,最低达到1,949点,金融资产价格跌幅较大,证券市场成交金额明显下降,证券经纪业务佣金率不断下滑,IPO项目发行放缓,证券行业传统经营业务受到较大挑战。
(1)经纪及期货业务
2010年,公司全年共实现总交易量5.4万亿元,市场份额4.31%,排名第5位;股票基金交易量4.48万亿元,市场份额4.06%,排名第5位;2010年末客户资产总额逾0.86万亿元。
2011年,面对激烈的市场竞争形势,公司通过完善制度建设、优化网点布局、推进中台建设、加强客户保证金管理等措施,夯实了零售经纪业务的发展基础,提升了零售经纪业务的销售能力和客户服务能力,促进了零售经纪业务市场份额的稳步提升。同时,公司通过加强对公募基金、社保及保险机构、私募基金、QFII客户的服务和开拓,提高了机构客户服务水平。2011年,公司股票和基金交易量市场份额4.13%,同比增加0.07个百分点,市场排名第四(单体口径),较2010年上升一位;新增股东账户43万户,市场占比3.98%。
2012年,公司零售业务快速发展,全年实现总交易量市场份额5.45%,比2011年(4.57%)增加0.88个百分点,市场排名由第四名上升至第二名;加强对基金、保险等专业投资机构的服务力度和企业及高净值客户服务力度,全年实现大宗交易量223亿元,市场份额8.51%,行业排名第二,其中全年新增11家QFII客户、新增开户数市场份额达9.4%;基金销售168.21亿元,销售收入1,823万元;海通期货客户权益67.8亿元,同比增长27.6%,位居行业第三,期货业务盈利能力进一步提升;网点建设扎实推进,年内新设4家营业部,营业部总数达到28家。2012年度,公司证券及期货经纪业务实现利润总额16.59亿元,占比40%。
(2)投资银行业务
公司大投资银行部为机构客户提供企业融资服务,包括股权承销、债券承销以及财务顾问服务,并致力于通过一体化的投资银行平台,为客户提供个性化的企业融资服务,并增加各个业务领域的交叉销售机会。截至2012年底,大投资银行部门共有429名员工。
2010年公司完成主承销项目36家,承销金额626.71亿元,其中IPO项目12个、承销金额254.25亿元,再融资项目14个、承销金额249.25亿元,股权承销金额市场占有率5.68%,排名第4位;债券融资项目10个,承销金额123.2亿元。
2011年,公司共完成主承销项目32个,承销总金额342亿元,其中股权项目21个,市场排名第3位;债券项目11个,实现业务收入1.2亿元,同比增长20%;完成百联集团等多个并购项目,实现业务收入7,136万元;新三板业务方面,公司加强与各地高新区管委会战略合作,签约多个项目。
2012年,投资银行业务由以股权融资为主向股债业务并重转型,债券承销收入大幅增长,有效平滑了股权融资市场低迷的不利影响。股权融资业务全年完成5个IPO项目,3个增发项目,承销金额78.5亿元;债券业务取得重大突破,全年完成主承销项目38个,承销金额740亿元。公司还成功取得中小企业私募债承销资格,为债券业务进一步发展奠定了基础;并购融资全年完成5个并购项目,交易金额50.9亿元。新三板业务完成挂牌企业4家。2012年,受IPO业务放缓等因素影响,投行业务营业收入同比下降35.35%,全年实现利润总额2.52亿元,占比6%。
(3)资产管理业务
截至2010年末,公司受托资产净值总规模达96.6亿元。海富通基金全年新发4只开放式基金,共管理13只境内开放式基金和1只QDII基金,资产规模总计近900亿元。
截至2011年末,公司资产管理总规模905亿元,其中海富通基金管理规模735亿元;客户资产管理部管理规模100亿元;产业投资基金管理规模70亿元。公司全年新发3只理财产品,首发规模24.9亿元,持续营销1个理财产品,并储备了多个理财产品。公募基金业务方面,全年新发4只开放式基金及1只QDII基金,公募基金管理规模321亿元;企业年金、投资咨询、社保组合等资产管理规模合计414亿元。股权投资管理业务发展迅速,其中,海富产业管理资产规模52亿元;海通创新管理资产规模10亿元,海通吉禾管理资产规模8亿元。
海通资产管理是在原海通证券客户资产管理部基础上组建起来的、由发行人全额出资的子公司,于2012年7月开业,注册资本为人民币10亿元,是目前国内注册资本金最大的券商系资产管理公司。海通资产管理拥有齐全的经营牌照、完备的产品线,是海通证券专职进行客户受托资产管理的唯一平台,从事客户资产管理业务已有12年历史,经营范围为证券资产管理业务,包括:定向业务、集合业务、专项业务、QDII业务和创新业务。海通资产管理把握创新机遇,首批取得保险资金管理资格,积极开发现金赢家系列和债券分级资产管理计划等创新型产品,2012年全年新增5个集合资产管理计划,15个定向资产管理计划,集合资产管理规模26.8亿元,定向资产管理规模303亿元。
2012年末,海富通基金管理公司公募基金管理规模340.5亿元,列行业第26位,企业年金、专户理财、社保组合等资产管理规模合计304.2亿元;富国基金管理公司公募基金管理总规模755亿元,市场排名第13位;各产业投资基金管理规模89亿元,新增投资项目22个,新增投资金额6.7亿元;海通创意资本及其管理的上海文化产业基金设立完成,首批募集资金17亿元,目前已正式开始运作。2012年,资产管理业务实现利润总额3.52亿元,占比9%。
(4)自营业务
公司主动顺应证券市场形势变化,积极推动投资业务转型,丰富盈利模式。权益类投资积极开展套保、期现套利、ETF套利和做市业务,减少趋势性投资对盈利的影响审慎参与二级市场交易,抓住市场波段性操作机会;固定收益类投资主动把握债市机遇,合理提升杠杆率;创新型融资业务审慎推进,量化投资业务开发多种套利策略。
2010年公司权益类投资较好地把握了阶段性市场机会,在上证指数下跌14.3%的情况下实现较好收益,另有多个前期参与的定向增发项目进入收获期;固定收益类投资采取积极灵活的操作,实现增长显著的盈利。2010年,公司自营业务共实现利润总额6.98亿元。
2011年,公司准确把握市场节奏,积极推动自营业务转型,采取稳健的资产配置和投资策略,在持续低迷的市场环境下,实现利润总额4.9亿元。公司权益类证券投资有选择的参与定向增发和新股申购,尽最大可能规避系统性下跌风险;固定收益类投资采取积极有效的投资策略,准确把握债券市场机遇,衍生品投资加强套保、套利等策略研究,均实现较好收益。
2012年,公司加大固定收益类投资并取得较好收益,自营业务的营业收入同比增幅39.78%,同时,受证券市场行情影响,权益类金融资产价格下跌,计提可供出售金融资产减值损失金额较大,使自营业务的营业支出同比增加62.92%,自营业务全年实现利润总额5.73亿元,占比14%。
此外,公司于2012年4月成立海通创新证券投资有限公司,主要业务分为两大类,一是量化投资,主要从事目前证券公司不能从事的衍生产品套利、投机以及宏观对冲,多空策略等,以统计套利、因子模型、事件驱动为工具,追求绝对收益、稳定的套利收益和alpha收益等,突破了现有证券公司只能从事以套保为目的的衍生产品交易限制,并将投资范围拓宽到商品、能源、风险管理等领域,极大地丰富券商的盈利手段;二是另类投资,主要包括信托产品及其它投资,通过信托产品的投资拓展券商现有业务的边界,为融资融券、约定购回客户提供更为多元化的金融服务,获得收益更高、更稳定的回报,同时大力支持母公司相关业务。
(5)直投业务
2012年,公司对海通开元再次增资17.50亿元,海通开元注册资本达到57.50亿元,直投业务资本实力进一步增加。海通开元全年完成股权投资项目23个,投资金额12.1亿元,累计投资项目59个,投资金额27.2亿元。同时,加强项目投后管理,积极探索回购、并购等多渠道退出方式,参与新型直投基金的设立,扩大资金管理规模。2012年,直投业务退出项目及投资项目分红收益增加,直投业务营业收入及支出同比增幅较大,直投业务全年实现利润总额1.45亿元,占比4%。
(6)境外业务
2010年1月,海通国际控股成功收购香港本地最大券商之一“大福证券集团有限公司”(00665.HK,现更名为海通国际证券集团有限公司),迈出了公司国际化发展战略的重要一步。海通国际控股依托发行人的国内资源和优势,以研究、机构销售、投资银行和资产管理为重点全面提升海通国际证券各项业务。
2011年,海通国际控股进一步提升整体业务能力和市场影响力,孖展融资贷款业务快速发展,孖展融资利息收入同比增加;全年承接多单投行项目,投行业务取得较好业绩;坚持以人民币产品创新开发推动资产管理品牌和规模提升,资产管理规模同比上升20%,并首批获得RQFII业务资格。
海通国际控股2012年全年实现收入10.8亿港元。经纪业务股票市场占有率0.52%,列B类券商第21名,较2011年上升5名;重点开发国际大型基金客户,全年新增海外机构客户116个;投行业务全年承销总金额70.7亿港元,其中承销IPO项目10个,市场占有率为5.4%,承销额香港排名第七,发行家数香港排名第二;资产管理业务方面首家在港成功发行RQFII产品,募集规模9亿元,并成为首家获得QFII和RQFLP资格的在港中资券商。2012年,公司境外业务实现利润总额2.71亿元,占比7%。
(三)发行人所处行业的现状与发展
1、证券公司行业概况
截至2012年底,中国共有114家证券公司,与2011年相比增加了5家。根据中国证券业协会的初步统计,截至2012年底,114家证券公司全年实现营业收入1,294.71亿元,各主营业务收入分别为代理买卖证券业务净收入504.07亿元、证券承销与保荐业务净收入177.44亿元、财务顾问业务净收入35.51亿元、投资咨询业务净收入11.46亿元、受托客户资产管理业务净收入26.76亿元、证券投资收益(含公允价值变动)290.17亿元、融资融券业务利息净收入52.60亿元,全年实现净利润329.30亿元,99家公司实现盈利,占证券公司总数的86.84%。
据统计,截至2012年12月31日,114家证券公司总资产为1.72万亿元,净资产为6,943.46亿元,净资本为4,970.99亿元,客户交易结算资金余额6,002.71亿元,托管证券市值13.76万亿元,受托管理资金本金总额1.89万亿元。1
目前,中国证券公司的主要收入来源于证券经纪、投资银行、资产管理、证券自营及其他业务。
1数据来源:中国证券业协会网站
中国证券公司业务收入构成2
随着资本市场的发展,全国证券公司营业网点数量呈现稳步上升趋势。截至2012年底,全国证券公司营业部共4,978家,与2011年相比减少54家。从证券营业部的分布来看,东南沿海和东部沿海地区营业部分布较为密集,广东、上海、江苏和浙江四省(直辖市)营业部分布最多,分别达到500家、482家、350家和337家。3
2、各板块业务发展状况
(1)证券经纪业务
证券经纪业务是指证券公司通过其设立的证券营业部,代理个人和机构投资者买卖证券的业务。
近年来,随着中国金融市场的发展,市场总体规模不断扩大,截至2012年底,境内上市公司(A、B股)达到2,494家,相比2011年增加152家,同比增速下降7个百分点。2012年,股票和基金交易共实现32.27万亿元的交易额,同比下降24.60%。其中,股票交易额较2011年明显减少,全年累计成交31.46万亿元,同比下降25.39%,降幅高于2011年的22.71%;2012年,基金成交额为0.81万亿元,同比增长27.62%;2012年债券市场的规模井喷和上涨行情,带来交易所债券成交额达到历史最高值,交易所债券成交额超过股票基金交易成交总额,高达37.83万亿元;与2011年相比,增幅为79倍。
2008~2012年交易所成交总金额4
2数据来源:中国证券业协会网站、万得资讯
3数据来源:中国证券业发展报告(2013)
4数据来源:海通证券、万得资讯
随着中国多层次资本市场建设的逐步深入,尤其是中小板、创业板的推出,证券市场交易品种也日趋丰富,交易品种由单纯的股票、基金、债券发展到股票、基金、债券、权证、ETF等多种产品,丰富了证券市场的交易品种,适应了投资者的不同需求。但总体上来看,交易品种仍不够丰富,未来进一步发展的空间较大。
在证券市场快速发展的同时,证券公司的盈利模式较为滞后,始终没有摆脱靠天吃饭的困境,表现出显著的周期性特征。证券公司利润随经纪业务收入变动,经纪业务与市场交易情况密切相关,市场交易又受经济环境、货币政策等影响。2007年到2012年,证券公司代理买卖证券业务净收入在营业收入中的占比一直在50%以上,其中最高的2008年占比达到了70.49%,其后虽然逐年下滑,但2012年占比仍然接近50%,始终是证券公司收入的最重要来源。
同时,证券经纪业务收入下滑幅度大于市场交易量下滑幅度。随着营业部的增加、证券经纪人制度的实施等,证券经纪业务的竞争趋于白热化,导致市场佣金率大幅下滑,证券公司经纪业务收入下滑幅度远远大于市场交易量的下滑幅度。2007年市场股票基金的成交总额为46.9万亿元,全行业代理买卖证券业务净收入是1,756亿元,而2011年市场股票基金的成交总额为42.8万亿元,较2007年下降了8.74%,但全行业代理买卖证券业务净收入仅有689亿元,较2007年大幅下降60.76%,下滑幅度远远超过交易量的下跌幅度。
证券经纪业务收入的下跌主要源于行业佣金率的大幅下降,自《关于调整证券交易佣金收取标准的通知》实施以来,证券佣金率就呈现出持续下滑的态势。2012年行业平均佣金率仅为2007年52.70%的水平,由2007年的0.148%下行至0.078%。
近十年行业整体佣金率走势5
未来,证券经纪业务的发展趋势是将目标客户基础从零售投资者转向机构投资者和高净值客户。随着投资者结构的转变,预期为机构和高净值客户提供的增值证券经纪服务将产生稳定的收入,并将成为证券公司的重要收入来源。
(2)投资银行业务
投资银行业务主要包括一级市场上的股权、债券承销和财务顾问业务。2012年证券公司证券承销总额高达2.02万亿元,同比增长24.97%,扭转了2011年业务总量下行的趋势。其中,股票承销业务受股市波动影响较大,股票承销总额和其在证券承销总额的占比在近两年内下降明显,分别由2010年的9,909.26亿元(占比59.96%)下降至2012年的4,583.59亿元(占比22.67%),其占比为10年内最低;而债券承销总额大幅上升,2012年高达1.56万亿元,约为2010年的2.36倍,其在证券承销总额的占比也由2010年的40.04%上升至2012年的77.33%。下表列示出所示期间内中国投资银行承销的股权发行集资总额:
2008~2012年证券公司股权融资概况6
5数据来源:中国证券业发展报告(2013)
6数据来源:万得资讯
近年来,中国债券市场处于快速发展的趋势,包括金融债、企业债、公司债、中期票据、短期融资券在内的多种债券产品发行量逐年上升。2012年,证券公司债券承销总额规模大幅扩大,共承销债券1,048只,是2011年的2.38倍;承销总额达1.56万亿元,同比增长69.78%。其中证券公司承销的债券中,企业债、金融债和公司债的承销额占比最大,分别达41.50%、25.05%和16.65%;且企业债、公司债的承销额增速最快,约为2011年的2.68倍和2.02倍。
2008~2012年债券市场发行总额7
中国的财务顾问业务主要是为企业提供并购和重组顾问服务。目前,中国并购和重组的项目很少,证券公司来自财务顾问业务的收入占比很低。2012年,共有65家项目通过并购重组审核委员会审核,与2011年相比,增加8个项目。2012年全年,证券公司财务顾问业务实现35.51亿元的营业收入,且该业务在行业总收入的占比逐步提升,达到2.74%。2012年末,财务顾问业务收入占比已超过资产管理业务,成为仅次于经纪业务、自营业务、证券承销与发行业务和融资融券业务的第五大收入来源。
目前国内证券公司参与并购业务主要还是集中“重大资产重组”、“要约收购”、“发行股份购买资产”、“吸收合并”等类型,在寻找并购机会、方案设计、估值定价、撮合交易等方面的竞争力有待提高。由于股权和债券承销项目仍占据市场主导地位,并购业务相对而言收费较少,加之市场化并购业务机会不多,缺乏创新动力,国内证券公司目前普遍对并购业务重视不够,并购业务发展较为缓慢。未来,随着中国企业重组、产业整合和海外扩张的增加,中国的兼并收购业务将日益活跃。对于拥有强大研究能力和海外网络的领先证券公司来说,其财务顾问业务将贡献更多收入。
7数据来源:万得资讯
(3)资产管理业务
我国证券公司的资产管理业务主要包括通过集合理财计划为个人投资者管理资产和通过定向和专项理财计划为企业年金、社保基金、机构投资者及高净值客户管理资产。
2012年,全国各证券公司新发行集合理财产品共224只,其中,股票型9只,混合型79只,QDII1只,债券型85只,货币型48只,FOF型2只。从新发行的产品数量上看,2012年的新发行量为历年来最大,但单只产品规模由2011年的5.96亿份持续下滑到4.81亿份。总体上看,尽管2012年股市表现平淡,单只产品募集资金规模持续下降,但证券公司资产管理产品数量和规模增长均创新高。
截至2012年底,从证券公司资产管理业务的产品类别来看,集合理财产品457只,实际投入营运的产品435只,资产份额2,192.44亿份,期末合计受托管理金额2,052.09亿元;专项资产管理产品19只,合计期末受托管理金额34.93亿元;83家证券公司发行了定向资产管理产品,合计期末受托管理金额16,847.28亿元。8
2005~2012年新发行集合理财产品数量
8数据来源:中国证券业发展报告(2013)
同时,证券公司也积极为企业年金提供资产管理服务,力图与投资银行业务产生协同效应。目前,极少数证券公司已为社保基金和企业年金计划提供资产管理服务。截至2011年,仅有中信证券和中国国际金融有限公司被授权为社保基金合格境内投资管理人。
相比基金公司管理的公募基金和私募基金,证券公司的资产管理业务发展缓慢,主要有三个原因:第一,证券公司资产管理业务品种有限,产品设计与公募基金趋同化,与中高端客户的需求不相匹配;第二,集合理财产品按规定不能进行公开宣传,效率很低;第三,证券公司集合理财目前有门槛规定。而基金既可发行门槛很低、适合普通投资者的公募基金,又可发行针对高端投资者的专户、一对多产品,实现了对投资者的全覆盖。
乐观预计下,证券公司资产管理业务将保持快速增长。中国资产管理业务的主要驱动因素包括家庭财富的迅速积累、共同基金资产管理规模占银行存款比较低和日益增长的企业及养老基金资产管理需求。
家庭财富的迅速累积已为中国资产管理业务的发展提供了基础。根据人民银行统计,居民人民币存款余额从2007年的人民币172,534亿元增至2012年的人民币406,192亿元,年复合增长率为18.68%。据统计局公布的数据,城镇居民人均可支配收入从2007年的人民币13,785元增加到2012年的21,986元,年复合增长率为9.78%。
2002~2012年我国GDP增长与城镇居民人均可支配收入
(4)证券自营业务
中国的证券公司主要进行股票及债券市场的自营交易,作为公司重要的收入来源之一。证券公司自营投资的金融产品主要包括股票、基金、债券、权证、信托产品等。
由于缺乏对冲市场风险和价格波动的机制,相比成熟市场,投资于中国股票市场呈现出较高风险。由于收益的高波动性和缺乏对冲的金融工具,中国证券公司自营交易业务的投资规模并不稳定。因此,投资风格审慎的证券公司在其自营交易组合中更多投资于债券产品以寻求稳定回报。随着中国资本市场推出越来越多的创新金融产品和服务,包括利率互换、股指期货和其他衍生品等,中国证券公司已逐渐由非对冲交易转向多策略和市场中性交易。由于国内对自营交易的监管条例依旧严格,证券公司随着客户交易需要演变,逐渐将其交易业务重心转向为机构投资者提供做市服务。作为做市商,证券公司凭借其资本投入和市场经验提供流动性并促成交易,从而取得低风险而稳定的收入。
截至2012年底,证券公司进行金融产品投资的资金规模达5,715.38亿元,同比增加34.27%。其中,债券资产的比重最大,高达68.34%;其次为股票和基金,投资比例分别为16.22%和10.96%。
(5)融资融券业务
融资融券业务,是指证券公司向客户出借资金供其买入上市证券或者出借上市证券供其卖出,并收取担保物的经营活动。
2010年3月31日,融资融券试点工作开展,丰富了我国资本市场信用交易机制,提供了基础做空工具,既提高了投资者资金的使用效率,也为投资者提供了对冲风险和管理风险的交易工具。2011年10月28日,融资融券业务由试点转为常规,市场参与者不断增多,业务规模逐步扩大,在一定程度上放大了资金的使用效果和证券供求,增加了市场交易量,降低了流动性风险。同时,融资融券作为一项新业务为证券行业提供了新的收入来源,改善了证券公司的生存环境。
2012年8月,中国证券金融公司转融资业务试点启动,先后有30家证券公司获得转融资业务资格,转融资业务的开闸推动了融资融券业务的发展。截至2012年底,共有288只证券(包括10只ETF)纳入融资融券业务标的证券范围,证券市场共有74家证券公司开展融资融券业务。
2012年我国融资融券市场交易规模逐步扩大。截至2012年底,融资融券累计交易金额为9,045.73亿元,约为2011年的2.84倍;其中,融券卖出的交易金额占总交易额的19.67%,而2011年该比重仅为8.56%。由此可见,融券交易在2012年比2011年更为活跃。
从整个A股市场来看,截至2012年底,融资融券市场交易金额占A股市场交易金额的5.10%。2012年底,融资融券市场余额为895.16亿元,是2011年382.07亿元的融资融券余额的2.34倍。其中,融资余额为856.94亿元,约占融资融券余额的95.73%;融券余额为38.21亿元,约占4.27%。与2011年相比,融券余额的比重上升了2.54个百分点。9
2010~2012年融资融券市场交易规模10
目前,我国融资融券业务发展不平衡,主要表现在融券业务比重过小,融券交易规模不足融资交易规模的15%,市场融券功能不足,未能充分体现融资融券价格发现和对冲风险的功能。对于融券业务,目前证券公司仍仅限于借出自有证券。预期随着转融通机制的引入,证券公司可作为代理向投资者借出其他金融机构的证券,从而大宗经纪业务将得到更快发展。
(6)国际证券业务
目前,我国证券公司的国际化发展尚处于以国内市场为依托的国际化发展初级阶段,地域上主要集中在我国香港地区。香港已成为中资证券公司国际化战略的首选基地,包括中国国际金融有限公司、中信证券、国泰君安证券股份有限公司、海通证券等在内的21家内地证券公司在香港设立了分公司或子公司。
9数据来源:中国证券业发展报告(2013)
10数据来源:中国证券业发展报告(2013)
在客户类别和业务上,主要以中资企业的国际业务为主,集中于投资银行业务,包括中资企业的海外IPO、再融资、并购重组等。
在证券承销与发行业务方面,2012年,香港市场首次公开发行(IPO)和再融资总额分别为80.2亿美元和501.2亿元,其中,中资证券公司在香港市场IPO的市场份额为44.80%,同比增加32.28个百分点;而再融资业务的市场份额为7.80%,同比下降3.52个百分点。11同时,在债券承销业务上,2012年,香港市场债券融资额为328亿美元,排名前50位的承销商中只有3家中资证券公司,总融资额8.9亿美元,占总市场份额的2.72%。12
11数据来源:中国证券业发展报告(2013)
12数据来源:中国证券业发展报告(2013)
在兼并与收购业务方面,全球跨国收购与兼并业务中仍少有中资证券公司的身影,虽总体排名有所上升,但业务均是与中国企业有关的(收购方或者被收购方为中国企业)跨国收购与兼并。2012年,在于中国企业有关的跨国收购与兼并业务排名前50的公司中,3家中资证券公司共完成11笔跨国收购与兼并交易,交易金额69.1亿美元,市场份额约为9.8%。
在资产管理业务方面,自2011年底人民币合格境外机构投资者(RQFII)业务资格批复以来,2012年1月11日,首批RQFII产品发售:海通证券香港子公司海通国际旗下的海通中国人民币收益基金和汇添富基金香港分公司旗下的汇添富人民币债券基金均在香港发售。截至2012年底,共有12家证券公司和9家基金公司香港子公司作为试点开展RQFII业务,试点总额度达到200亿元人民币。
在RQFII业务试点规模扩大的同时,QDII和QFII业务也迅速发展。截至2012年底,已有13家证券公司获得QDII资格,12家证券公司获得共53亿美元的QDII额度,已发行集合产品6只,合计份额8.21亿份。2012年,中国证监会共批复QFII72家,创下自2003年我国开始引入QFII家数10年之最;同时,2012年发放QFII额度为160亿美元,相当与此前6年发放额度总和。
中资证券公司在国际业务的拓展过程中,面临外资投资银行的挑战。外资投资银行拥有强大的资本、技术、综合经营与人才等竞争优势。在经营策略上,外资银行正在逐渐本地化,并与中国企业建立长久合作关系,未来国际市场业务竞争将更加激烈。海外证券业务需要强大的综合研究能力和发达的海外网络,在一个窗口就可以为客户提供全方位的服务。在这方面,中国证券公司与国际大型投资银行相比还有很大的距离。
(四)发行人的竞争优势
公司在长期经营过程中,逐步形成了具有自身特色的核心竞争力,主要体现在:
1、雄厚的资本实力
2007年以来,公司抓住市场机遇,通过两次战略性的融资安排,迅速增强了资本实力;公司抓住经济转型给证券市场带来的发展机遇,通过内生增长,亦增加了资本积累。按照中国证券业协会公布的数据,分别以2009年、2010年、2011年及2012年12月31日的资产总额和资产净值计,公司在中国证券公司中均名列第二位。充足的资本为公司实施业务转型、加快业务创新提供了先发优势。
2、广泛的营业网点以及雄厚而稳定的客户基础
截至2012年12月31日,公司在中国拥有230间证券及期货营业部(其中证券营业部202家,期货营业部28家),遍布27个省、142个城市,并通过孙公司海通国际证券在香港和澳门设有12间营业部。根据上交所以及中国期货业协会的数据,以2012年12月31日的证券及期货经纪营业部数目计,公司在中国所有证券公司中名列第四。此外,为适应各地区不断转变的竞争环境和发展趋势,公司还在北京、上海及其他多个省份内设立了24家分公司。这些分公司对所辖省市内的证券经纪营业部进行直接管理及监督,以提高公司管理效率及对营业部的资源分配。凭借遍布全国极具战略性的营业网点,公司得以建立庞大且稳定的客户群,截至2012年12月31日公司在中国拥有近460万名客户。
3、业务创新的前瞻性
公司始终将创新作为推动战略转型的关键驱动力。凭借雄厚的资本实力、有效的风险管理和内部监控以及优秀的执行能力,公司多次被监管机构指定成为首批参与中国证券行业试点业务的证券公司之一。公司曾首批获得股指期货经纪业务、融资融券业务、期货IB业务以及柜台市场业务等资格,并成为首批获准开展直接投资和另类投资业务的证券公司之一。近年来,公司在创新业务上发展迅速,其中、融资融券、股指期货经纪交易、直接投资业务一直占据市场的领先地位。在2012年,公司在进一步健全和完善创新工作机制的基础上,不断加大自主创新力度,加大创新业务和创新产品的储备,进一步丰富产品线,提升服务能力;相继取得了保险资金管理资格、获得了转融通、合伙企业独立托管、期货资产管理、RQFLP、中资券商QFII和QFLP等创新业务资格;顺利获得中小企业私募债主承销资格;牵头承销的全国首单信贷资产证券化项目(“交银2012年第一期信贷资产证券化”)荣获《亚洲货币》颁发的“2012年最佳证券化交易”大奖;成功发行了首只现金管理产品,发行规模位居行业前列。各类创新业务,包括融资融券、约定购回和期现套利等创新业务收入占比持续上升,2010年、2011年及2012年创新业务占比分别为3.7%、10.6%及16.5%,有效抵御了传统业务收入下滑带来的不利影响。
4、拥有成熟的国际平台,有利于把握日益增加的跨境业务机会
海通国际证券(前身为“香港大福证券”)拥有近40年的经营历史,为香港本地领先的全方位证券公司之一,并曾连续十年荣获FinanceAsia、Asiamoney和Euromoney等不少国际知名金融媒体颁授为香港最佳证券商殊荣。目前,国内少数几家证券公司在香港拥有上市的业务平台,而海通国际证券是其中在香港营运历史悠久及零售网络最大的平台。海通国际证券的全方位海外平台和海外客户群及营业网点可使公司把握不断增加的大中华地区跨境业务机遇,并满足客户的多样化需求。
5、稳健的公司治理、有效的风险管理和内部控制体系
公司在25年的经营历史中,成功度过了多个市场和业务周期、监管改革和行业转型发展。公司建立了稳健的公司治理和有效的风险管理和内部监控体系,以降低公司于证券市场所承担的各种风险。公司是中国境内二十世纪八十年代成立的证券公司中唯一一家至今仍在营运并且未更名、未被政府注资且未被收购重组过的大型证券公司。公司已拥有一个完备的风险监管制度,有效管理市场风险、信用风险、流动资金风险和营运风险。公司亦已为各业务之间建立了有效的隔离墙和适当的预防机制处理潜在利益冲突。此外,公司还建立了独立和集中化的内部审计及合规体系,能够有效监察各项营运和交易活动。公司2008年至2012年连续五年获得中国证监会授予的证券公司A类AA评级(目前给予中国证券公司的最高评级)。
6、资深和稳定的管理团队,专业和高素质的员工队伍
公司的成功依赖于董事及高级管理层的杰出领导。公司大部分董事和高级管理层成员均拥有平均近20年的境内金融和证券业经验,其中大部分在本公司任职超过十年。
具有战略前瞻性的董事会和高级管理层团队使得公司从竞争对手中脱颖而出,并使公司把握中国证券行业产品创新和全球化带来的业务机遇。公司拥有一支专业的高素质员工队伍。截至2012年12月31日,公司共有5,619名雇员持有大学本科或以上学位,占雇员总数的77.5%。
(五)发行人未来发展战略
在行业转型的背景下,公司总体发展战略是:坚持以客户为中心,以经纪、投资银行、资产管理等中介业务为核心,以资本型中介业务和投资业务为两翼,以创新和国际化为驱动力,加强研究、人才、IT和风控合规四根支柱建设,把海通建设成为国内一流、国际有影响力的金融服务集团。公司将以持续创新为手段、凭借国际化平台,继续专注发展中国市场并致力于核心的金融中介服务,包括证券及期货经纪、投资银行及资产管理等业务。同时,公司计划扩充及推广自营交易及直接投资业务,以辅助核心金融中介业务的同时创造具竞争力的风险调整回报。此外,公司还将强化风险管理、研究能力、信息技术及人力资源等业务基础,从而支持业务的增长。具体战略包括:
1、进一步增强证券及期货经纪业务的市场领先地位和盈利能力
证券及期货经纪业务是公司的核心业务之一,具有稳定的收入来源和良好的成长潜力,并将会继续成为公司主要收入来源。公司将继续集中服务零售客户、机构客户及高净值客户,同时扩充期货及跨境经纪业务。具体策略如下:
(1)通过向高端零售客户、机构客户及高净值客户提供量身订造的投资方案及差异化的产品和服务(投资顾问服务、财富管理服务、期货IB服务及研究报告支持等)进一步优化客户细分;
(2)积极推广融资融券及股指期货经纪等新业务和产品,发挥公司综合业务平台的优势,加强交叉销售能力,从而使收入来源多样化并优化经纪业务的盈利模式;
(3)透过营业部的战略性布局扩大公司的覆盖范围及优化营运效能,在符合中国监管规定的情况下,每年在渗透率较低但增长潜力巨大的中国中西部地区及二三线城市设置若干新营业部;在中国证监会允许的情况下,开展旗舰营业部以提供金融产品、投资顾问及财富管理等增值型服务能力;以及提升经纪人的素质及加强培训,支持营业部网络的扩充;
(4)把握市场整合机会和有选择性地收购中国证券公司的机会,以扩大公司的地域分布及市场份额;
(5)利用海通国际证券的香港网络,向海外客户提供全面的金融产品和服务,发展中国和海外市场的跨境经纪业务,进一步扩大公司的客户基础,同时为国内客户提供参与国际市场的途径,从而进一步强化竞争优势。
2、维持投资银行业务的增长动力并进一步整合公司的业务平台
近年来投资银行业务高速增长。投资银行业务具有巨大的增长潜力,该业务的高速增长将大幅提升公司品牌形象,并为不同的业务板块提供交叉销售的机会。具体策略如下:
(1)加强为客户,尤其是中国金融、科技及文化行业的客户,提供个性化的投资银行解决方案,同时加强对大型企业及中小企业的覆盖。公司将通过行业分类服务大型企业,并通过“属地化”战略服务中小企业,包括民营企业。关注中小企业,尤其是民营企业,更好地把握快速增长的中国创业板、中小企业板和新三板带来的商机;
(2)将中国业务平台与海外业务平台之间的协同效应最大化,以把握新的商机,不断增加的中国企业境外融资需求以及中国未来可能推出的国际板,把握潜在的交叉销售机会;
(3)增强债券承销能力和财务顾问服务,把握中国资本市场债务融资及并购活动的增长潜力,并增加该等业务的收入比重;
(4)进一步发展股权及债券资本市场分部,提高定价和分销能力
(5)整合股权承销、债券承销及财务顾问服务三大块业务的后台系统,从而提高运营效率。
3、战略性的拓展资产管理业务,通过提高全面的产品,以满足日益增加及多样化的客户需求
资产管理业务具有长期增长潜力,能优化收入结构,有效地服务零售客户和拥有可观投资资产的机构客户,具有重要战略意义。公司将利用庞大的营业网点及雄厚的客户基础抓住资产管理业务与其他业务之间的潜在交叉销售机会,并进一步发展资产管理产品和服务,以增加产品类型、资产管理规模及经营收入。传统资产管理业务方面,公司计划拓宽产品和服务种类、增强新产品和个性化产品的设计能力、整合分销渠道及提升客户服务质素。具体措施如下:
(1)计划在海富通基金管理主要向零售客户提供公募基金产品的平台上,积极拓展机构客户的资产管理服务;
(2)继续增加富国基金管理主要向零售客户提供的公募基金产品,进一步提升品牌知名度并加快产品分销渠道的开发;
(3)成立一家全资的资产管理子公司以服务中高端零售客户及高净值个人客户。该子公司将采用优化的投资决策程序及强化的绩效评估体系以及以市场为导向的奖励计划,藉此招揽和挽留专业人才。
(4)另类资产管理业务方面,公司拟透过推行以下措施,继续集中发展私募股权资产管理业务及其他相关业务:发挥直接投资业务的竞争优势,打造一个领先的私募股权资产管理业务平台;及拓展我们的另类资产管理服务,以及提供房地产投资信托及商品交易咨询服务等新产品,迎合客户多元化的需求。
4、继续拓展和推广具有高增长潜力的新业务及产品
发展新业务是公司实现持续增长及成功转型的关键。新业务有助于提升公司的服务质素及客户忠诚度、巩固传统业务的竞争优势,创造新的收入增长点。公司将继续把握市场动态,透过提供具备高增长潜力的创新及差异化产品和服务,继续扩展业务及与同业竞争。具体策略如下:
(1)融资融券:融资融券是一项增值服务,可以让证券经纪客户采取较为多元化的交易策略,同时能够提升客户忠诚度。该业务不仅有助保持公司在证券经纪业务的市场领先地位,也能够开阔公司的收入来源。为把握新业务机遇,公司计划继续增加资本投入,扩大该项业务的规模;推广交叉销售,藉以增加客户渗透率;发展转融通业务,提升财务杠杆和融资融券的盈利能力。
(2)直接投资:直接投资业务使公司能够进一步拓展私募股权资产管理业务,并有利于投资银行业务作好准备以捕捉日后中小企业客户的证券承销商机。公司计划增加对海通开元投资的出资,并继续设立、投资及管理多种私募股权基金,进一步发展私募股权资产管理业务。公司已投资吉林省现代农业和新兴产业投资基金与西安航天新能源产业基金,而这两只基金分别由海通开元投资的子公司海通吉禾管理及海通创新管理管理。此外,公司于2012年9月获上海市政府及中国证监会批准成立上海文化产业股权投资基金合伙企业。
(3)金融期货及其他衍生工具业务:公司于2010年2月推出的股指期货等金融期货及其他衍生工具产品的发展,为经纪及资产管理客户提供全面的投资解决方案,并减低自营交易业务的波动性。公司计划在这些产品引入市场时增加对金融期货及其他衍生工具业务的资本投入,包括股指期货及利率期货及期权、外币期货及期权等其他金融衍生工具产品。
5、积极推进国际化战略,把握跨境业务机遇
国际化战略是公司整体业务策略中的重要组成部分。公司力争通过实施以客户为中心的战略,满足客户对跨境金融服务日益增长的需求和进一步提升服务国内外客户的能力及优化收入结构,增强品牌的海外认知度。
公司计划巩固海通国际证券在香港市场的领导地位,发挥其与海外市场紧密联系的优势,充分利用其营销网络和国际客户群;充分利用香港作为人民币国际化前沿的优势地位,扩大境内外客户群带来的交叉销售机会,开发新业务。未来,公司将推出更多的人民币产品和服务,如人民币基金、人民币计价IPO、人民币债券承销和RQFII产品等;及专注于跨境业务的发展,发挥境内外业务的协同效应,尤其是投资银行、资产管理、证券经纪及研究等领域。
6、强化风险管理体系、内部监控、信息技术能力、研究能力和人力资源管理,支持公司的业务运营
有效的风险管理体系、内部监控、信息技术能力、研究能力,以及人力资源管理是公司持续发展并保持市场领导地位的关键因素。
总体风控合规管理方面,公司将继续优化内部监控和风险管理架构;强化按风险类别管理风险的能力;健全以净资本为核心的风险控制指标监控体系,优化资本在各业务之间的配置效率;完善各业务之间的信息隔离墙建设。
研究团队方面,公司将扩大研究队伍的规模及提升市场知名度;提升研究团队的知识管理水平以及数据库基础设施建设;扩大中国境内上市公司研究覆盖范围,同时有针对性的扩展海外研究力量。
信息技术方面,公司计划加大对信息技术系统的投入,保持高效、安全及稳定的技术服务以支持业务运营:全面审视信息系统构架,强化信息技术治理和风险管控能力;进一步加强信息技术的基础设施建设;提升业务及管理方面的重点信息技术应用系统。
人力资源管理方面,公司将继续招募和挽留合格的专业人才,如高级管理层、持牌保荐代表人、具有国际视野的资深投资经理等;为员工提供专业化的培训、清晰的晋升通道和多元化的发展机会;对各业务全面推行绩效奖励薪酬制度,并继续支持及认定以市场为导向的薪酬制度以奖励表现及业绩。
第四节 财务会计信息
一、财务报表的编制基础及遵循企业会计准则的声明
以下信息主要摘自本公司财务报告,其中关于本公司2010年度、2011年度、2012年度数据均摘自已披露的经审计的年度财务报告,2013年1-3月的财务数据摘引自本公司未经审计的2013年一季度财务报告;投资者如需了解本公司的详细财务状况,请参阅本公司在指定的信息披露网站披露的2010年、2011年和2012年财务报告(经审计)及截至2013年3月31日的财务报告(未经审计)。
除特别说明外,本节分析披露的财务会计信息以公司按照新会计准则编制的最近三年及一期财务报表为基础进行。
二、最近三年及一期财务报表的审计情况
本公司聘请立信会计事务所(特殊普通合伙)对2010年至2012年的合并及母公司财务报表进行了审计,立信对公司2010年至2012年的合并及母公司财务报表均出具了标准无保留意见的审计报告。2013年1-3月期间的财务报告未经审计。
三、最近三年及一期财务会计资料
(一)合并财务报表
本公司于2010年12月31日、2011年12月31日、2012年12月31日及2013年3月31日的合并资产负债表,以及2010年度、2011年度、2012年度及2013年1-3月的合并利润表、合并现金流量表如下:
1、合并资产负债表
合并资产负债表
2、合并利润表
免责声明:本文仅代表作者个人观点,与凤凰网无关。其原创性以及文中陈述文字和内容未经本站证实,对本文以及其中全部或者部分内容、文字的真实性、完整性、及时性本站不作任何保证或承诺,请读者仅作参考,并请自行核实相关内容。
湖北一男子持刀拒捕捅伤多人被击毙
04/21 07:02
04/21 07:02
04/21 07:02
04/21 06:49
04/21 11:28
频道推荐
商讯
48小时点击排行
-
2052232
1杭州某楼盘一夜每平大降数千元 老业主 -
992987
2杭州某楼盘一夜每平大降数千元 老业主 -
809366
3期《中国经营报》[ -
404290
4外媒关注刘汉涉黑案:由中共高层下令展 -
287058
5山东青岛住户不满强拆挂横幅抗议 -
284796
6实拍“史上最爽职业”的一天(图) -
175136
7媒体称冀文林将石油等系统串成网 最后 -
156453
8养老保险制度如何“更加公平可持续”





















所有评论仅代表网友意见,凤凰网保持中立